安阳钢铁获得实用新型专利授权:“一种物流用快速转运车”
证券之星消息,根据天眼查APP数据显示安阳钢铁(600569)新获得一项实用新型专利授权,专利名为“一种物流用快速转运车”,专利申请号为CN202520632644.6,授权日为2026年3月13日。

图片来源于网络,如有侵权,请联系删除
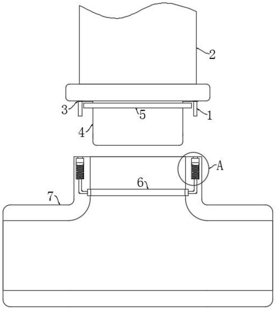
专利摘要:本实用新型涉及物流转运技术领域,具体为一种物流用快速转运车,包括空心板,所述空心板表面的一侧开设有调节孔,所述螺纹孔的内部螺纹连接有调节杆,所述调节杆表面的一侧螺纹连接有延伸板。本实用新型使用时可根据需要运输货物的规格调节空心板和延伸板之间的距离并利用调节杆对延伸板在空心板内的位置进行固定,在对空心板和延伸板之间的位置进行调节的同时也会对空心柱和延伸柱、空心杆和延伸杆之间的距离进行调节,从而便于运输不同规格的物品,在进行收纳的过程中可将延伸板的部分收进空心板内并利用调节杆进行固定,减少装置占用的体积,从而便于转运车的存放,达到了提高装置适配性,便于收纳的效果。

图片来源于网络,如有侵权,请联系删除
今年以来安阳钢铁新获得专利授权32个,较去年同期减少了37.25%。结合公司2025年中报财务数据,2025上半年公司在研发方面投入了5.84亿元,同比增5.09%。
通过天眼查大数据分析,安阳钢铁股份有限公司共对外投资了24家企业,参与招投标项目11433次;财产线索方面有商标信息3条,专利信息1053条,著作权信息8条;此外企业还拥有行政许可607个。
数据来源:天眼查APP
以上内容为证券之星据公开信息整理,由AI算法生成(网信算备310104345710301240019号),不构成投资建议。
目录 返回
首页
