太阳纸业获得实用新型专利授权:“一种压光机底辊用传动装置”
证券之星消息,根据天眼查APP数据显示太阳纸业(002078)新获得一项实用新型专利授权,专利名为“一种压光机底辊用传动装置”,专利申请号为CN202520780986.2,授权日为2026年3月10日。

图片来源于网络,如有侵权,请联系删除
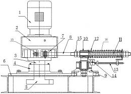
专利摘要:本实用新型提供了一种压光机底辊用传动装置,压光机技术领域包括传动侧机架和传动轴,传动轴活动贯穿于传动侧机架;传动侧机架的两端分别设置有用于固定传动轴的装配单元,所述传动轴的端部穿过装配单元并延伸至传动侧机架的外侧;装配单元包括可拆卸的封装机构,封装机构设置于传动侧机架的端部,封装机构的内部设置有套设于传动轴端部的轴承,所述传动轴通过封装机构、轴承与传动侧机架装配连接。本实用新型通过分体式可拆卸轴承室设计,降低了使维护成本,缩短了维修停机时间,延长了轴承的使用寿命,以及减少了同步带的更换频率,显著提升了造纸压光工段的经济性与设备可靠性。

图片来源于网络,如有侵权,请联系删除
今年以来太阳纸业新获得专利授权8个,较去年同期增加了33.33%。结合公司2025年中报财务数据,2025上半年公司在研发方面投入了2.27亿元,同比减47.79%。

图片来源于网络,如有侵权,请联系删除
通过天眼查大数据分析,山东太阳纸业股份有限公司共对外投资了26家企业,参与招投标项目622次;财产线索方面有商标信息165条,专利信息273条,著作权信息9条;此外企业还拥有行政许可190个。
数据来源:天眼查APP
以上内容为证券之星据公开信息整理,由AI算法生成(网信算备310104345710301240019号),不构成投资建议。
目录 返回
首页
