晨光股份获得外观设计专利授权:“护套(AKPK2004)”
证券之星消息,根据天眼查APP数据显示晨光股份(603899)新获得一项外观设计专利授权,专利名为“护套(AKPK2004)”,专利申请号为CN202530490316.2,授权日为2026年3月10日。

图片来源于网络,如有侵权,请联系删除
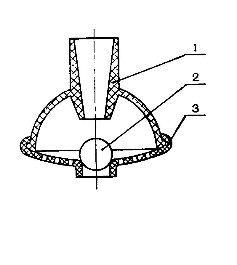
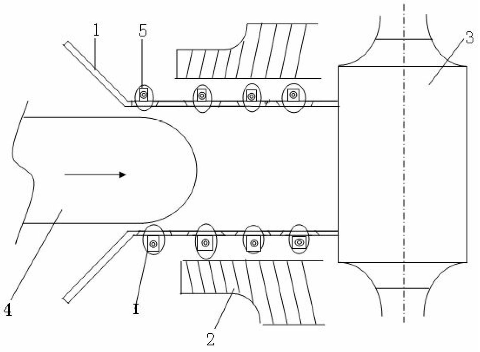
专利摘要:1.本外观设计产品的名称:护套(AKPK2004)。2.本外观设计产品的用途:用作书写工具的护套,供使用者在书写时握持。3.本外观设计产品的设计要点:在于形状。4.最能表明设计要点的图片或照片:立体图。

图片来源于网络,如有侵权,请联系删除
今年以来晨光股份新获得专利授权61个,较去年同期增加了165.22%。结合公司2025年中报财务数据,2025上半年公司在研发方面投入了9564.55万元,同比增3.46%。
通过天眼查大数据分析,上海晨光文具股份有限公司共对外投资了17家企业,参与招投标项目2634次;财产线索方面有商标信息1366条,专利信息2890条,著作权信息1199条;此外企业还拥有行政许可374个。
数据来源:天眼查APP
以上内容为证券之星据公开信息整理,由AI算法生成(网信算备310104345710301240019号),不构成投资建议。
目录 返回
首页
