盛美上海公布国际专利申请:“基板处理装置”
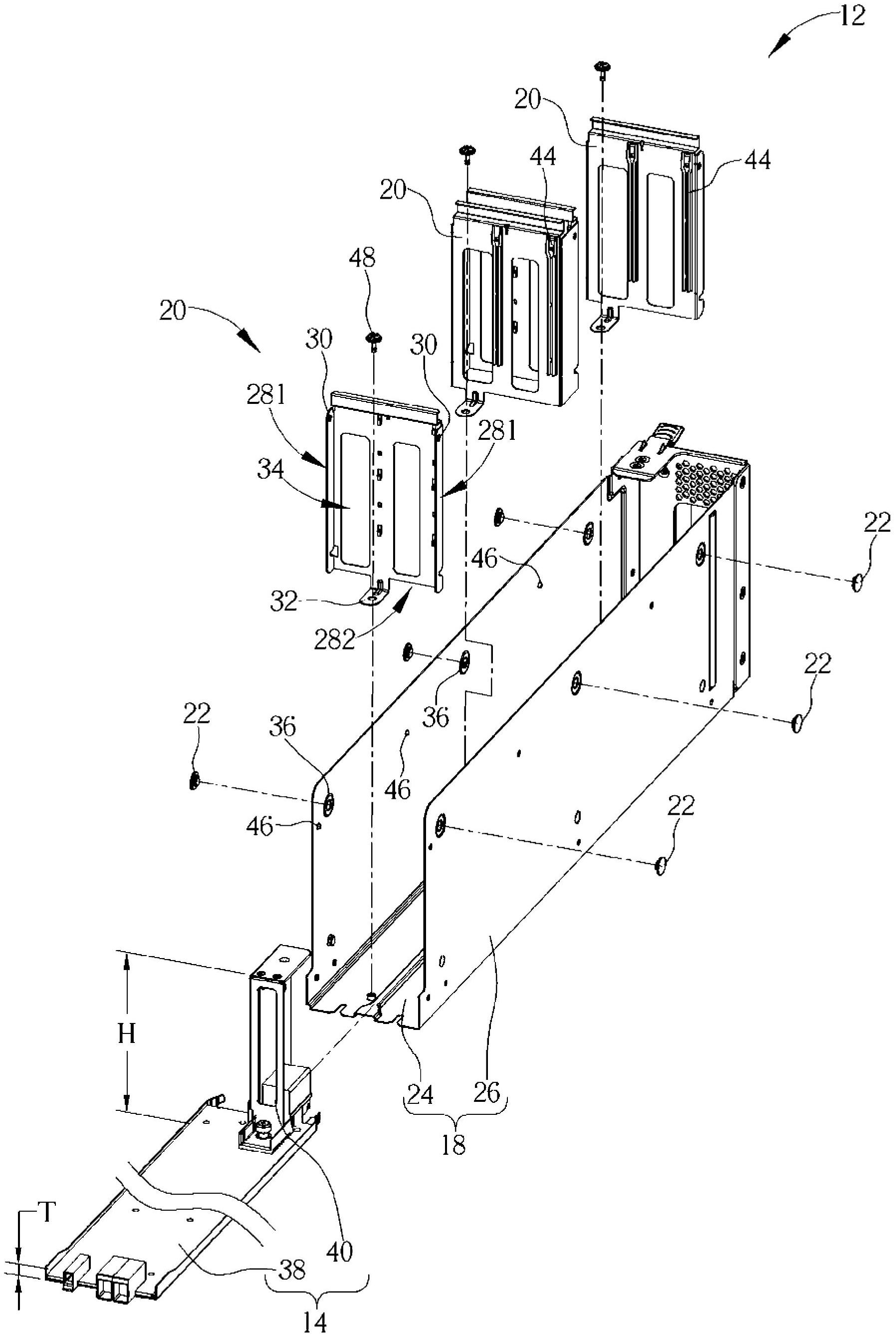
证券之星消息,根据企查查数据显示盛美上海(688082)公布了一项国际专利申请,专利名为“基板处理装置”,专利申请号为PCT/CN2025/110593,国际公布日为2026年3月5日。

图片来源于网络,如有侵权,请联系删除
专利详情如下:

图片来源于网络,如有侵权,请联系删除
图片来源:世界知识产权组织(WIPO)
今年以来盛美上海已公布的国际专利申请23个,较去年同期增加了53.33%。结合公司2025年年报财务数据,2025年公司在研发方面投入了10.03亿元,同比增37.64%。
数据来源:企查查
以上内容为证券之星据公开信息整理,由AI算法生成(网信算备310104345710301240019号),不构成投资建议。
目录 返回
首页
