财智汇

中国广核获得发明专利授权:“含蒸汽的密闭空间气溶胶取样测量装置”

04 03月
作者:小微|{/foreach}{/if}

证券之星消息,根据天眼查APP数据显示中国广核(003816)新获得一项发明专利授权,专利名为“含蒸汽的密闭空间气溶胶取样测量装置”,专利申请号为CN202211120998.X,授权日为2026年3月3日。

中国广核获得发明专利授权:“含蒸汽的密闭空间气溶胶取样测量装置”
图片来源于网络,如有侵权,请联系删除

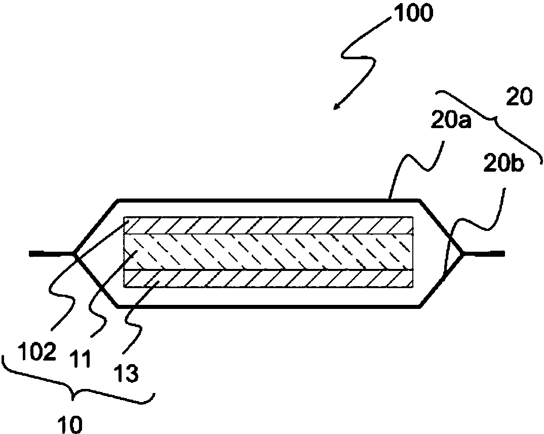
专利摘要:本发明公开了一种含蒸汽的密闭空间气溶胶取样测量装置,其包括:延伸至密闭空间内的气溶胶取样管、通过管线连接气溶胶取样管的测量单元、连接测量单元的粒径谱仪、设置于测量单元入口的标定粒子容器、通过管线依次连接测量单元的冷凝水洗罐、干燥管和流量控制器,以及连接气溶胶取样管的注气吹扫管线。相对于现有技术,本发明含蒸汽的密闭空间气溶胶取样测量装置中,测量仪器下游连接有三级冷凝水洗罐、干燥管和流量控制器,可对取样气体中的蒸汽进行冷凝、对固体粉尘进行过滤,保证进入流量控制器的为低温、干燥且纯净的空气,使得取样气体流量能够有效控制,保证含蒸汽的混合取样气体中气溶胶浓度和粒径分布测量的准确性。

今年以来中国广核新获得专利授权44个,较去年同期增加了18.92%。结合公司2025年中报财务数据,2025上半年公司在研发方面投入了5.24亿元,同比增67.68%。

通过天眼查大数据分析,中国广核电力股份有限公司共对外投资了36家企业,参与招投标项目448次;财产线索方面有专利信息7511条,著作权信息853条;此外企业还拥有行政许可15个。

数据来源:天眼查APP

以上内容为证券之星据公开信息整理,由AI算法生成(网信算备310104345710301240019号),不构成投资建议。

浏览78.5k
返回
目录
返回
首页
人民银行:1月末,债券市场托管余额197.7万亿元

Copyright © 2024 dw 版权所有

备案号: 蜀ICP备2024051291号-14

财智汇专业为您提供金融聚焦、实时解盘、新风向、业界新讯、财智新视、数字财经等财经方面资讯,财智汇是一个专业财经领域资讯服务者。

本站部分内容为转载,不代表本站立场,如有侵权请联系处理。