博雅生物获得实用新型专利授权:“一种血浆蛋白连续生产清洗设备”
证券之星消息,根据天眼查APP数据显示博雅生物(300294)新获得一项实用新型专利授权,专利名为“一种血浆蛋白连续生产清洗设备”,专利申请号为CN202423279970.8,授权日为2026年2月27日。

图片来源于网络,如有侵权,请联系删除
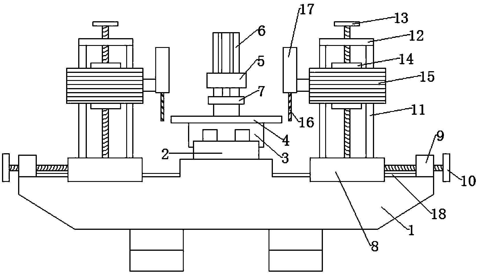
专利摘要:本实用新型公开了一种血浆蛋白连续生产清洗设备,包括支撑座以及对称设置在其上的第一箱体和第二箱体,第一箱体和第二箱体内均可转动设置有过滤筒,支撑座顶部位于第一箱体和第二箱体之间的中部固定有立板,且立板的两侧均设置有与第一箱体和第二箱体配合的安装盖,且两个安装盖分别位于立板两侧的顶端及底端,安装盖的底部设置有用于过滤筒进行清洗的清洗机构,支撑座的顶部开设有限位槽,本实用新型能够实现对箱体内过滤筒的高质量刷洗,且刷洗完成后可以通过风机对箱体内部快速吹干,方便快速的投入使用;能够交替对第一箱体和第二箱体的使用,实现对血浆蛋白的连续生产,大大提高了血浆蛋白的生产效率。

图片来源于网络,如有侵权,请联系删除
今年以来博雅生物新获得专利授权3个,较去年同期增加了200%。结合公司2025年中报财务数据,2025上半年公司在研发方面投入了2318.01万元,同比减23.56%。

图片来源于网络,如有侵权,请联系删除
通过天眼查大数据分析,华润博雅生物制药集团股份有限公司共对外投资了28家企业,参与招投标项目2547次;财产线索方面有商标信息13条,专利信息167条,著作权信息17条;此外企业还拥有行政许可262个。
数据来源:天眼查APP
以上内容为证券之星据公开信息整理,由AI算法生成(网信算备310104345710301240019号),不构成投资建议。
目录 返回
首页
