迦南科技获得实用新型专利授权:“一种分离型称重叉架”
证券之星消息,根据天眼查APP数据显示迦南科技(300412)新获得一项实用新型专利授权,专利名为“一种分离型称重叉架”,专利申请号为CN202520673467.6,授权日为2026年2月6日。

图片来源于网络,如有侵权,请联系删除
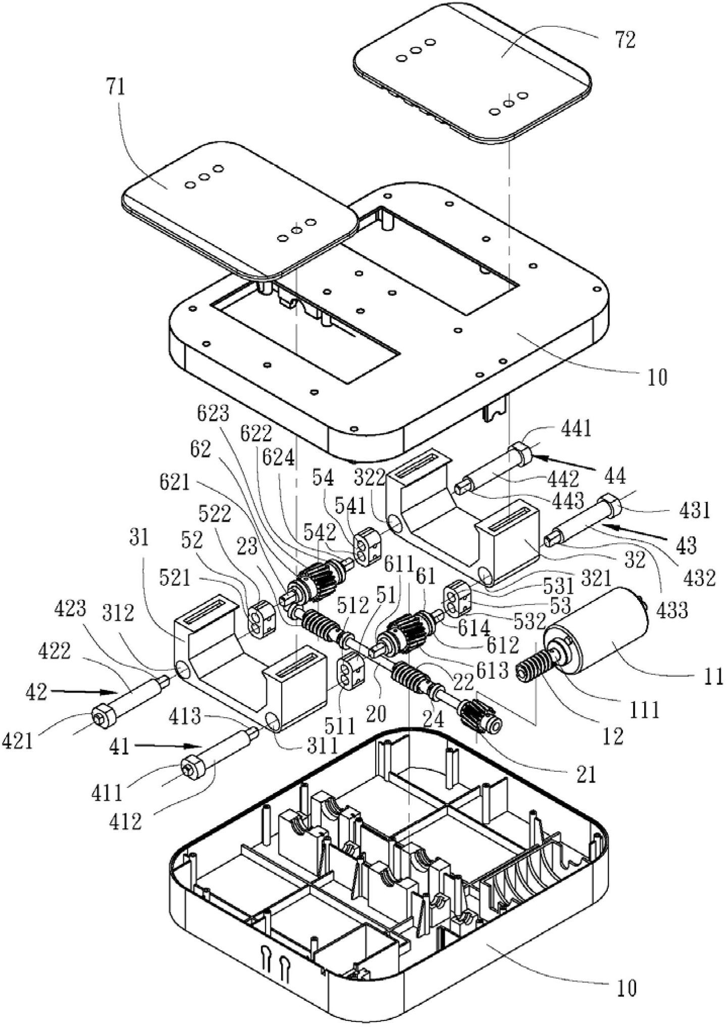
专利摘要:本实用新型提供一种分离型称重叉架,属于叉架技术领域,其包括有料斗、过渡叉架、称重叉架与连接横梁,称重叉架设置有第二叉杆,料斗上设置有第一连接杆,第一连接杆上设置有第二通孔,第二叉杆设置于第二通孔内,连接横梁包括第一连接梁与第二连接梁,第一连接梁包括第一安装部与第一滑动部,第二连接梁包括第二安装部与导套部,称重叉架设置于第一安装部内,过渡叉架设置于第二安装部,第一滑动部滑动设置于导套部内,称重叉架下端设置有用于测量料斗质量的称重传感器。本实用新型过渡叉架可适配不同宽度的称重叉架,通过仅更换称重叉架适配不同类型的料斗,应用范围广,并且可在作业阶段监控物料重量的变化。

图片来源于网络,如有侵权,请联系删除
今年以来迦南科技新获得专利授权10个,较去年同期增加了66.67%。结合公司2025年中报财务数据,2025上半年公司在研发方面投入了3627.97万元,同比减11.47%。

图片来源于网络,如有侵权,请联系删除
通过天眼查大数据分析,浙江迦南科技股份有限公司共对外投资了11家企业,参与招投标项目378次;财产线索方面有商标信息43条,专利信息1021条,著作权信息35条;此外企业还拥有行政许可22个。
数据来源:天眼查APP
以上内容为证券之星据公开信息整理,由AI算法生成(网信算备310104345710301240019号),不构成投资建议。
目录 返回
首页
