运机集团获得实用新型专利授权:“一种带式输送机的折叠式托辊横梁”
证券之星消息,根据天眼查APP数据显示运机集团(001288)新获得一项实用新型专利授权,专利名为“一种带式输送机的折叠式托辊横梁”,专利申请号为CN202520528784.9,授权日为2026年1月30日。

图片来源于网络,如有侵权,请联系删除
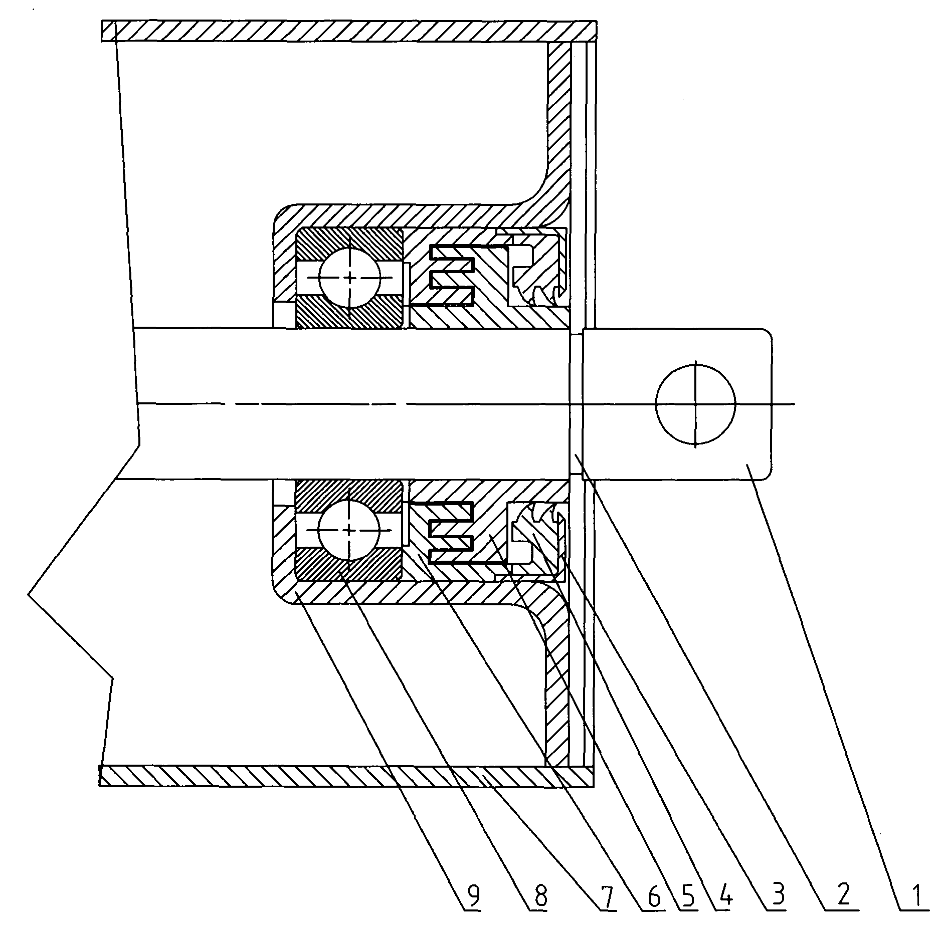
专利摘要:本实用新型涉及到带式输送机托辊横梁领域,公开了一种带式输送机的折叠式托辊横梁,包括横梁本体,横梁本体两端各设有边支座,边支座与横梁本体垂直固定,边支座上连接有边支柱,边支柱沿边支座长度方向延伸;包装运输托辊横梁时,边支柱沿与边支座的连接处向下折叠收拢。本实用新型具有结构简单、使用方便、降低包装成本、运输成本以及存储成本的有益效果。

图片来源于网络,如有侵权,请联系删除
今年以来运机集团新获得专利授权2个。结合公司2025年中报财务数据,2025上半年公司在研发方面投入了2762.63万元,同比增28%。

图片来源于网络,如有侵权,请联系删除
通过天眼查大数据分析,四川省自贡运输机械集团股份有限公司共对外投资了9家企业,参与招投标项目627次;财产线索方面有商标信息6条,专利信息221条,著作权信息11条;此外企业还拥有行政许可77个。
数据来源:天眼查APP
以上内容为证券之星据公开信息整理,由AI算法生成(网信算备310104345710301240019号),不构成投资建议。
目录 返回
首页
