和胜股份获得实用新型专利授权:“多芯头铝挤压模的电蚀穿孔电极”
证券之星消息,根据天眼查APP数据显示和胜股份(002824)新获得一项实用新型专利授权,专利名为“多芯头铝挤压模的电蚀穿孔电极”,专利申请号为CN202422841041.5,授权日为2025年11月14日。

图片来源于网络,如有侵权,请联系删除
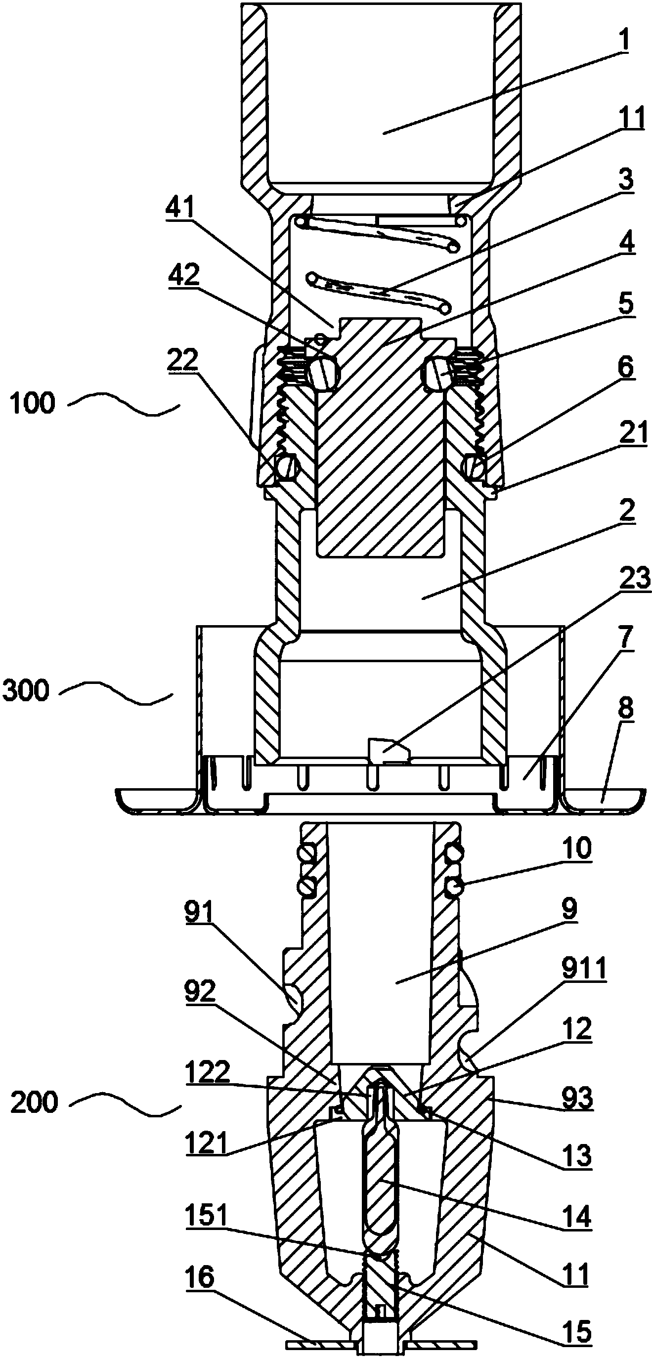
专利摘要:本实用新型公开了一种多芯头铝挤压模的电蚀穿孔电极,包括安装座、电蚀组件,所述安装座为导电体;所述电蚀组件包括至少两个间隔分布在所述安装座的电蚀臂,所述电蚀臂的一端安装至所述安装座,所述电蚀臂的另一端为悬空结构,安装座上的电蚀臂根据多芯头铝挤压模上的加工孔的数量和位置设置,可一次完成多孔加工,减少装夹和校正次数,加工效率和精度均较高,并且通过将安装座的最小截面积设置为大于所有电蚀臂的截面积之和,保证安装座能够给电蚀臂足够的电量,保证多孔同时电蚀的加工效果。

图片来源于网络,如有侵权,请联系删除
今年以来和胜股份新获得专利授权10个,较去年同期减少了58.33%。结合公司2025年中报财务数据,今年上半年公司在研发方面投入了7136.07万元,同比减0.07%。
通过天眼查大数据分析,广东和胜工业铝材股份有限公司共对外投资了10家企业,参与招投标项目17次;财产线索方面有商标信息38条,专利信息159条;此外企业还拥有行政许可116个。
数据来源:天眼查APP
以上内容为证券之星据公开信息整理,由AI算法生成(网信算备310104345710301240019号),不构成投资建议。
目录 返回
首页
