航天晨光获得实用新型专利授权:“一种乏燃料容器盖板吊具”
证券之星消息,根据天眼查APP数据显示航天晨光(600501)新获得一项实用新型专利授权,专利名为“一种乏燃料容器盖板吊具”,专利申请号为CN202422881948.4,授权日为2025年11月14日。

图片来源于网络,如有侵权,请联系删除
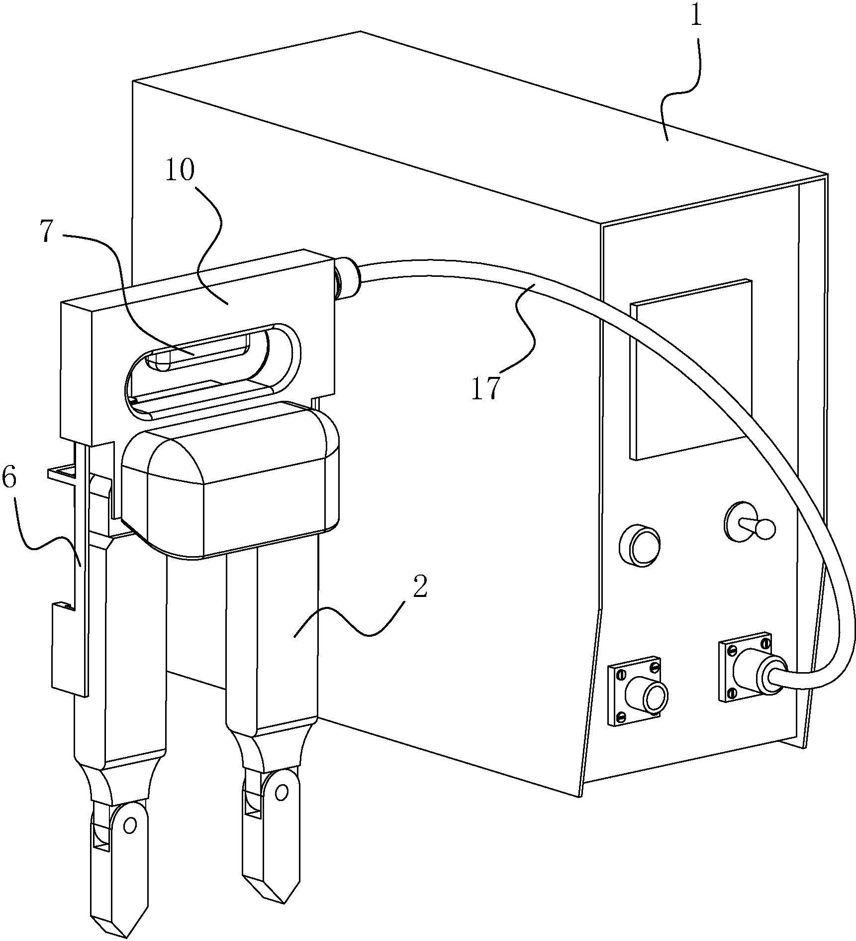
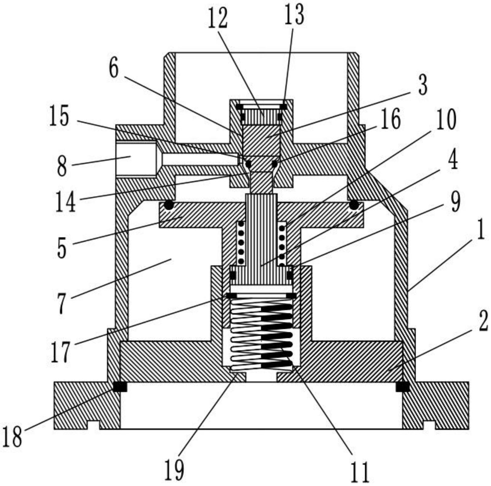
专利摘要:本实用新型涉及一种乏燃料容器盖板吊具,属于附在起重机提升的载荷吊挂装置技术领域。该吊具包括吊耳、回转驱动、吊板和缓冲板;吊耳底部焊安装板,安装板与吊板之间通过回转驱动联接,吊板边缘形成向下的折弯,吊板上设安装孔,安装孔内穿设起吊组件,吊板底部固定于缓冲板,缓冲板与定位板之间通过弹簧联接,定位板缘向外延伸出折弯板;起吊组件包含顶盖、带孔导向套、起吊螺钉、带孔锁紧螺母、第一锁紧杆和第二锁紧杆;顶盖尺寸大于安装孔尺寸,顶盖联接带孔导向套,带孔导向套内套设起吊螺钉,起吊螺钉的一端设旋转接口,另一端伸出带孔导向套;带孔导向套外壁上螺接带孔锁紧螺母;第一锁紧杆插入带孔锁紧螺母;第二锁紧杆插入带孔导向套。

图片来源于网络,如有侵权,请联系删除
今年以来航天晨光新获得专利授权51个,较去年同期减少了7.27%。结合公司2025年中报财务数据,今年上半年公司在研发方面投入了5353.41万元,同比减39.73%。

图片来源于网络,如有侵权,请联系删除
通过天眼查大数据分析,航天晨光股份有限公司共对外投资了17家企业,参与招投标项目4845次;财产线索方面有商标信息49条,专利信息808条,著作权信息99条;此外企业还拥有行政许可201个。
数据来源:天眼查APP
以上内容为证券之星据公开信息整理,由AI算法生成(网信算备310104345710301240019号),不构成投资建议。
目录 返回
首页
