柳 工获得发明专利授权:“传动系统及工程机械”
证券之星消息,根据天眼查APP数据显示柳 工(000528)新获得一项发明专利授权,专利名为“传动系统及工程机械”,专利申请号为CN202510232593.2,授权日为2025年11月4日。

图片来源于网络,如有侵权,请联系删除
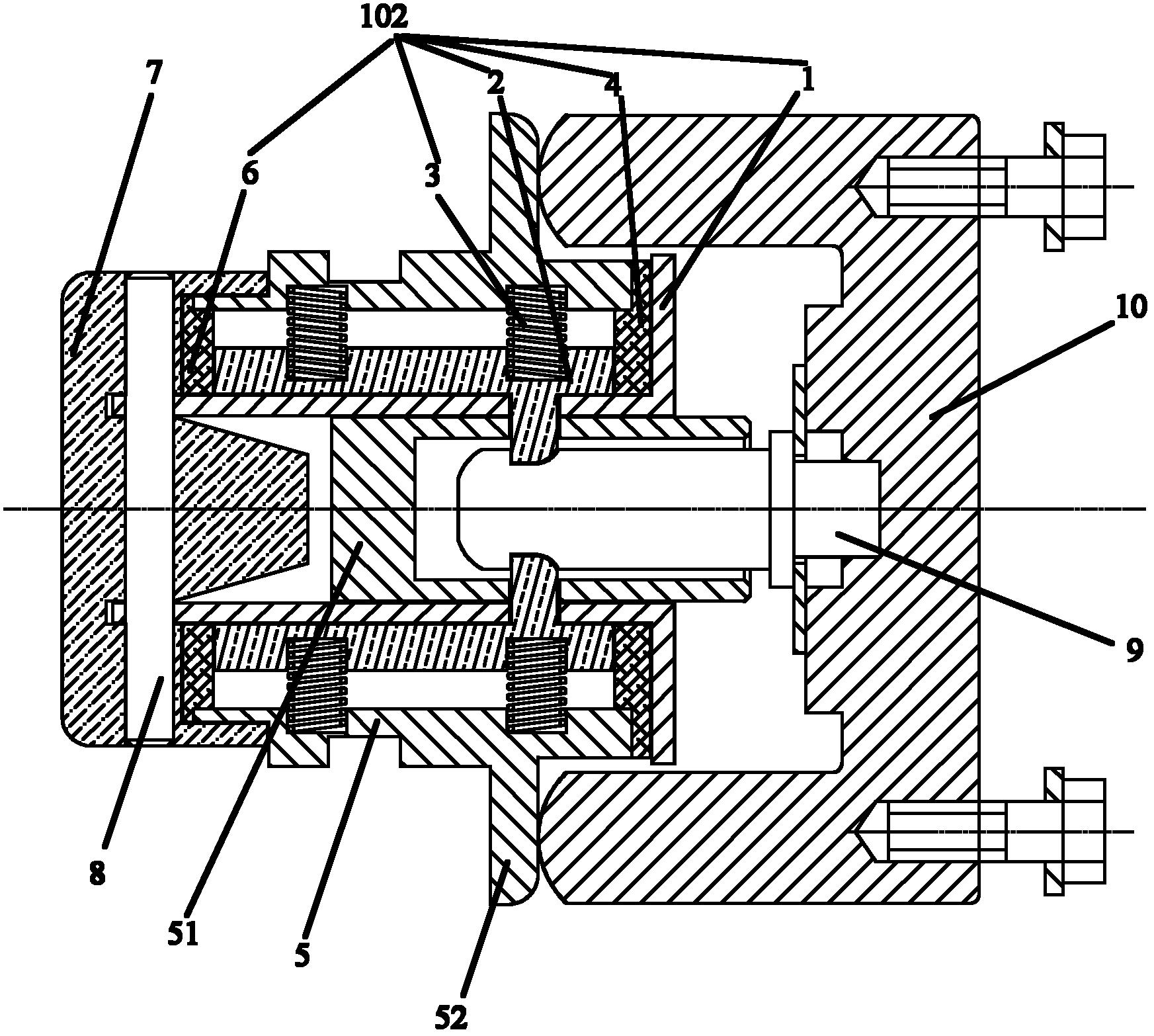
专利摘要:本发明属于工程机械技术领域,尤其涉及一种传动系统及工程机械。传动系统包括多个电机、变速箱、转向制动机构和终传动机构,多个电机两两一组形成若干组;变速箱包括输入组件和变速组件,输入组件包括若干个输入齿轮和汇流齿轮,若干组电机与若干个输入齿轮一一对应连接,若干个输入齿轮均与汇流齿轮相啮合,汇流齿轮与变速组件的输入端相连;转向制动机构的输入端与变速组件的输出端相连;终传动机构的输入端与转向制动机构的输出端相连,终传动机构输出端用于与车轮连接。动力传递路径为电机?变速箱?转向制动机构?终传动机构,动力传递路径短,传动效率高,且总体结构紧凑,零部件数量少,装配制造简单,成本较低。

图片来源于网络,如有侵权,请联系删除
今年以来柳 工新获得专利授权246个,较去年同期增加了58.71%。结合公司2025年中报财务数据,今年上半年公司在研发方面投入了6.08亿元,同比增25.63%。

图片来源于网络,如有侵权,请联系删除
通过天眼查大数据分析,广西柳工机械股份有限公司共对外投资了39家企业,参与招投标项目1249次;财产线索方面有商标信息88条,专利信息2949条,著作权信息150条;此外企业还拥有行政许可516个。
数据来源:天眼查APP
以上内容为证券之星据公开信息整理,由AI算法生成(网信算备310104345710301240019号),不构成投资建议。
目录 返回
首页
