中国一重获得实用新型专利授权:“一种缓冲缸及机床”
证券之星消息,根据天眼查APP数据显示中国一重(601106)新获得一项实用新型专利授权,专利名为“一种缓冲缸及机床”,专利申请号为CN202423320606.1,授权日为2025年11月4日。

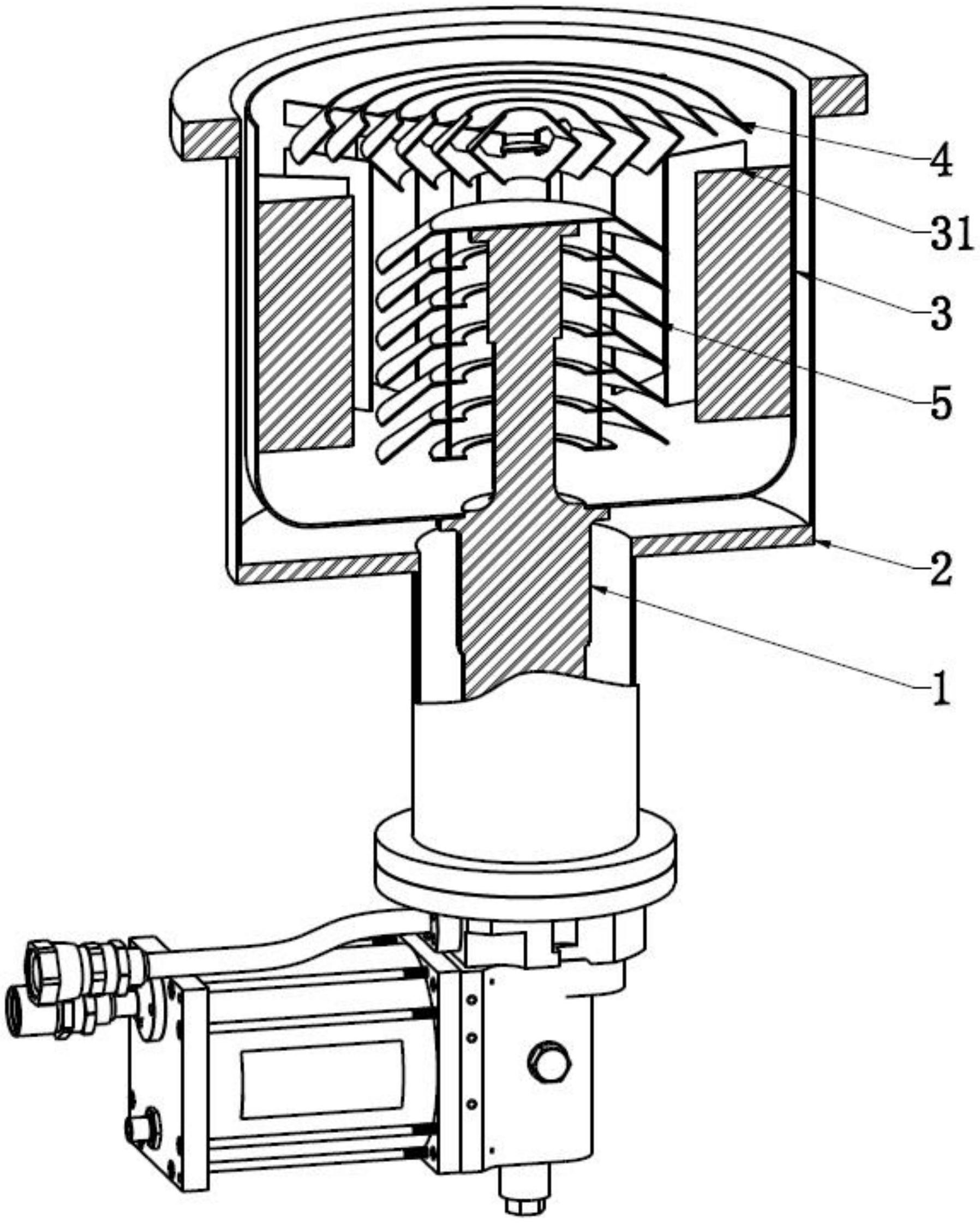
图片来源于网络,如有侵权,请联系删除
专利摘要:本实用新型提供了一种缓冲缸及机床,涉及机械加工设备技术领域,缓冲缸包括缸头、法兰盘及柱塞,柱塞端部的周侧表面上开设有环形凹槽,环形凹槽远离柱塞端面的侧壁与柱塞端面之间的距离为第一距离,法兰盘为环形结构,法兰盘的内缘嵌设在环形凹槽内,柱塞插入缸头的槽口中,法兰盘与缸头连接。本实用新型通过在柱塞的端部周侧开设环形凹槽,环形凹槽内嵌设环形的法兰盘,柱塞插入缸头的槽口中,此时法兰盘也与缸头连接,法兰盘以缸头作为基准,在柱塞的径向上限制柱塞移动,此时法兰盘对柱塞施加压力的力臂长度为L3,相较于现有技术,缩短了L1长度,在同等受力下,弯矩减少,柱塞不易损坏,提升了缓冲缸使用寿命。
今年以来中国一重新获得专利授权81个,较去年同期减少了12.9%。结合公司2025年中报财务数据,今年上半年公司在研发方面投入了1.56亿元,同比增19.28%。
通过天眼查大数据分析,中国第一重型机械股份公司共对外投资了33家企业,参与招投标项目3598次;财产线索方面有商标信息8条,专利信息2150条,著作权信息2条;此外企业还拥有行政许可338个。
数据来源:天眼查APP
以上内容为证券之星据公开信息整理,由AI算法生成(网信算备310104345710301240019号),不构成投资建议。
目录 返回
首页
