大连重工获得发明专利授权:“一种轴端分体式动密封结构”
证券之星消息,根据天眼查APP数据显示大连重工(002204)新获得一项发明专利授权,专利名为“一种轴端分体式动密封结构”,专利申请号为CN202211544978.5,授权日为2025年4月15日。

图片来源于网络,如有侵权,请联系删除
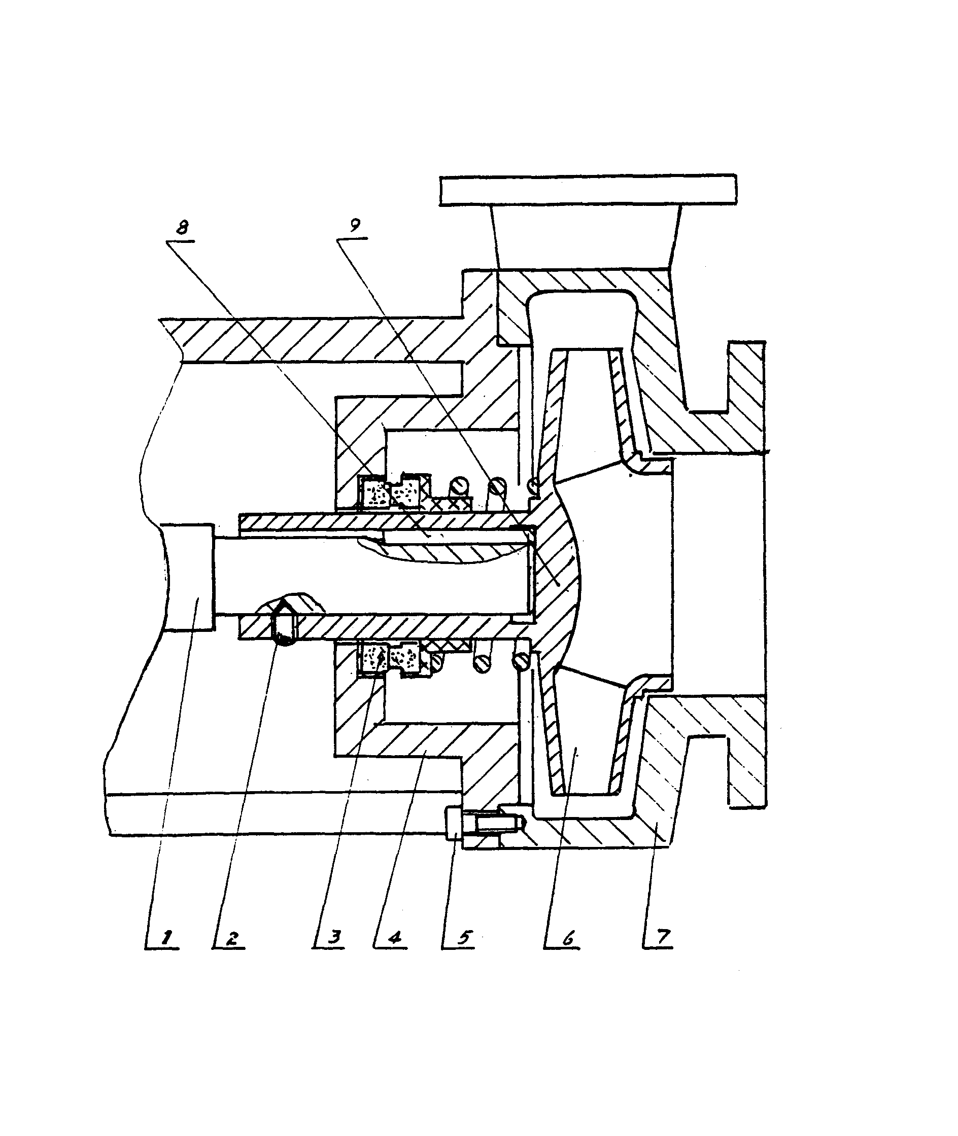
专利摘要:本发明提供一种轴端分体式动密封结构,包括:箱体固定端盖、轴端随动盖和防尘罩;箱体固定端盖装配于箱体,轴端随动盖装配于转动轴伸出部分轴体上;箱体固定端盖轴向外侧面加工有环状凹槽,轴端随动盖轴向内侧面加工有环状凸起,轴端随动盖内侧面与箱体固定端盖外侧面扣合;本申请通过将原有的单层端盖密封,改为分体式密封,确保轴端随动盖的环状凸起嵌入到箱体固定端盖的环状凹槽内部,并且底端贴合,确定好位置后最终锁紧轴端随动盖通常选择螺钉锁紧定位,轴端随动盖与转动轴通过径向装配的螺钉实现与转动轴紧固;这样就形成了动密封,同时环状凹槽与环状凸起之间的径向配合间隙是为了抵消九轴滚轴筛转动轴的震动,同时为了装配对正方便。

图片来源于网络,如有侵权,请联系删除
今年以来大连重工新获得专利授权25个,较去年同期减少了60.32%。结合公司2024年中报财务数据,2024上半年公司在研发方面投入了4.17亿元,同比增3.34%。

图片来源于网络,如有侵权,请联系删除
数据来源:天眼查APP
以上内容为证券之星据公开信息整理,由智能算法生成(网信算备310104345710301240019号),不构成投资建议。
目录 返回
首页
