南都电源获得实用新型专利授权:“一种电池模组焊接工装”
证券之星消息,根据天眼查APP数据显示南都电源(300068)新获得一项实用新型专利授权,专利名为“一种电池模组焊接工装”,专利申请号为CN202422433257.8,授权日为2025年8月5日。

图片来源于网络,如有侵权,请联系删除
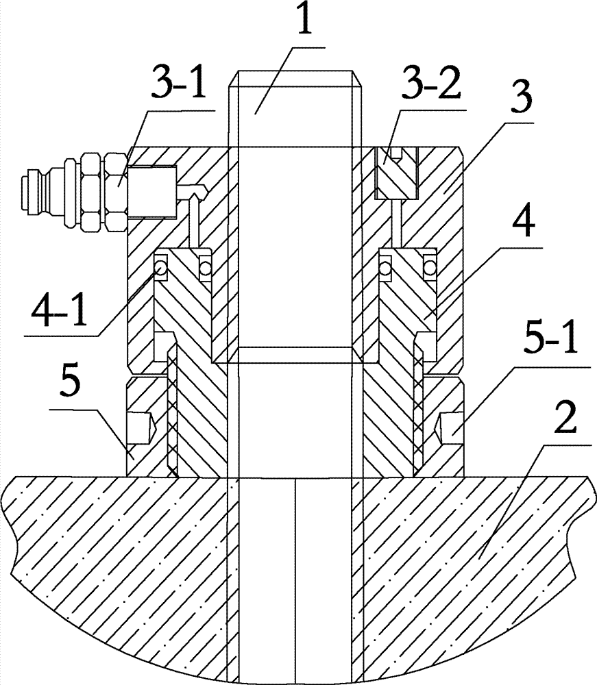
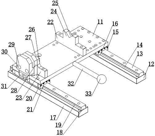
专利摘要:本实用新型涉及能源技术领域,尤其涉及一种电池模组焊接工装。本申请的电池模组焊接工装通过Z轴顶压机构对电池模组在Z轴方向上进行约束,Z轴顶压机构中位于电芯的两极柱之间的上方的Z轴绝缘导向板,在Z轴压板向工装盒的内部移动压紧电池模组时,Z轴绝缘导向板压在电池模组的两极柱之间;提高模组电池极柱共面性,使得电池模组在Z轴方向上高度较一致,进而减少在“BUSBAR”焊接工序中的焊接电极时出现的焊接不良,以达到降本增效的目的。

图片来源于网络,如有侵权,请联系删除
今年以来南都电源新获得专利授权35个,较去年同期减少了50.7%。结合公司2024年年报财务数据,2024年公司在研发方面投入了4.5亿元,同比减5.6%。

图片来源于网络,如有侵权,请联系删除
通过天眼查大数据分析,浙江南都电源动力股份有限公司共对外投资了37家企业,参与招投标项目1038次;财产线索方面有商标信息58条,专利信息891条,著作权信息14条;此外企业还拥有行政许可54个。
数据来源:天眼查APP
以上内容为证券之星据公开信息整理,由AI算法生成(网信算备310104345710301240019号),不构成投资建议。
目录 返回
首页
