隆基绿能获得发明专利授权:“背接触电池及其制备方法”
证券之星消息,根据天眼查APP数据显示隆基绿能(601012)新获得一项发明专利授权,专利名为“背接触电池及其制备方法”,专利申请号为CN202410772492.X,授权日为2025年8月1日。

图片来源于网络,如有侵权,请联系删除
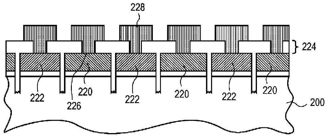
专利摘要:本申请公开了一种背接触电池及其制备方法,其中,背接触电池包括硅衬底,硅衬底的背面依次交替设置有多个第一区域和多个第二区域,各第一区域设置有第一半导体层,各第二区域设置有第二半导体层,第二半导体层于第二区域向所述第一区域延伸,并顺次形成爬升部和覆盖部,覆盖部覆盖部分第一半导体层,形成裸露的第一半导体区域和被覆盖的第一半导体区域;裸露的第一半导体区域整层上,和沿垂直于第一区域向第二区域延伸的方向的部分覆盖部设置第一透明电极图案;第二区域上设置第二透明电极图案;第一透明电极图案和第二透明电极图案始终隔离有第一间隙,上述方案可以提高背接触电池的转换效率。

图片来源于网络,如有侵权,请联系删除
今年以来隆基绿能新获得专利授权246个,较去年同期增加了25.51%。结合公司2024年年报财务数据,2024年公司在研发方面投入了18.15亿元,同比减20.48%。

图片来源于网络,如有侵权,请联系删除
通过天眼查大数据分析,隆基绿能科技股份有限公司共对外投资了35家企业,参与招投标项目346次;财产线索方面有商标信息283条,专利信息2026条,著作权信息42条;此外企业还拥有行政许可57个。
数据来源:天眼查APP
以上内容为证券之星据公开信息整理,由AI算法生成(网信算备310104345710301240019号),不构成投资建议。
目录 返回
首页
