酒钢宏兴获得实用新型专利授权:“一种水幕过滤生石灰粉尘的循环使用装置”
证券之星消息,根据天眼查APP数据显示酒钢宏兴(600307)新获得一项实用新型专利授权,专利名为“一种水幕过滤生石灰粉尘的循环使用装置”,专利申请号为CN202422128516.6,授权日为2025年8月1日。

图片来源于网络,如有侵权,请联系删除
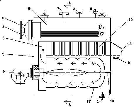
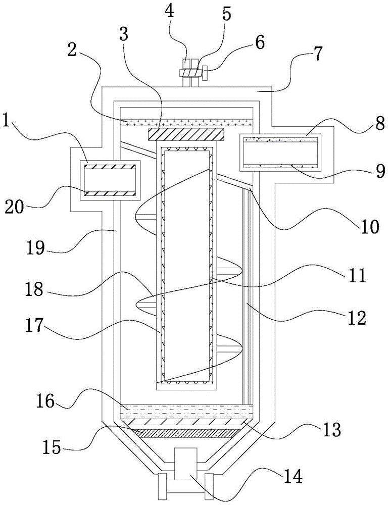
专利摘要:本实用新型公开了一种水幕过滤生石灰粉尘的循环使用装置,该装置包括:除尘器箱体;水幕过滤气流分目箱,设置在除尘器箱体内;进气管和出气管,分别设置在除尘器箱体两端开口上,且进气管与除尘管道连接,出气管与除尘风机连接;混合溶液沉淀部分,设置在除尘器箱体下部,分为沉淀部分和滤水部分,沉淀部分通过排料管与除尘器箱体底部排料口连接,使得产生的氢氧化钙能够进入沉淀部分进行循环再利用,滤水部分通过管路与水幕过滤气流分目箱的进水端连接,使得滤水部分中的水进入水幕过滤气流分目箱,在其内部能够形成水幕对生石灰粉尘进行捕捉。

图片来源于网络,如有侵权,请联系删除
今年以来酒钢宏兴新获得专利授权140个,较去年同期减少了13.58%。结合公司2024年年报财务数据,2024年公司在研发方面投入了10.65亿元,同比增6.11%。

图片来源于网络,如有侵权,请联系删除
通过天眼查大数据分析,甘肃酒钢集团宏兴钢铁股份有限公司共对外投资了36家企业,参与招投标项目11747次;财产线索方面有商标信息31条,专利信息2767条,著作权信息1条;此外企业还拥有行政许可122个。
数据来源:天眼查APP
以上内容为证券之星据公开信息整理,由AI算法生成(网信算备310104345710301240019号),不构成投资建议。
目录 返回
首页
