长安汽车获得发明专利授权:“具备自清洁能力的增压器密封结构”
证券之星消息,根据天眼查APP数据显示长安汽车(000625)新获得一项发明专利授权,专利名为“具备自清洁能力的增压器密封结构”,专利申请号为CN202310178137.5,授权日为2025年8月1日。

图片来源于网络,如有侵权,请联系删除
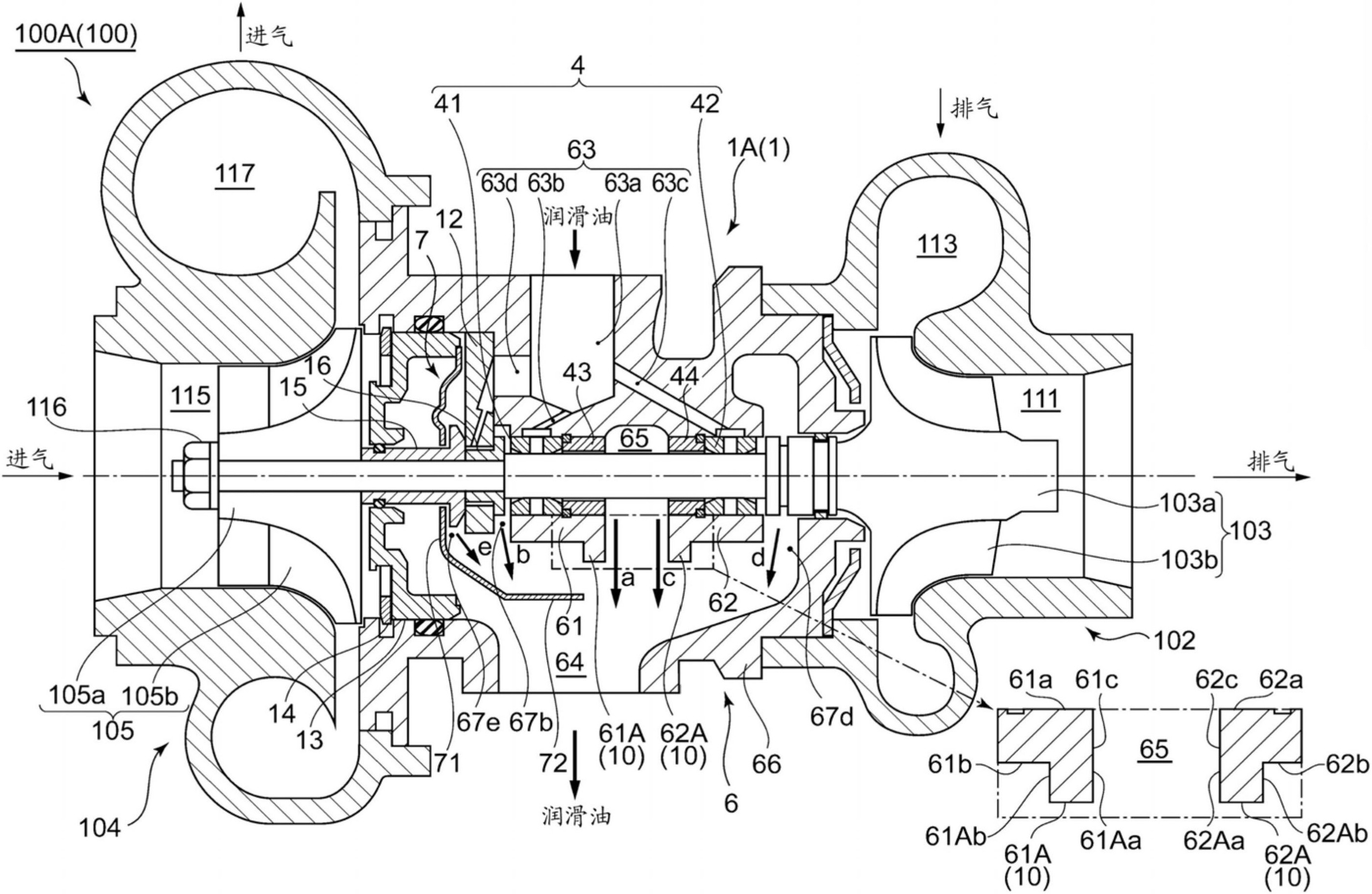
专利摘要:本发明公开了一种具备自清洁能力的增压器密封结构,包括中间体以及涡轮轴,还包括两个密封环,所述中间体的内部设置有中孔以及自清洁密封进气道,所述中孔以及所述涡轮轴的轴线沿前后方向,所述涡轮轴上沿轴向间隔设置有两个安装槽;两个所述密封环的外圈均抵靠在所述中孔上,两个所述密封环的内圈分别以间隙配合的方式套设在两个所述安装槽上;所述自清洁密封进气道的首端从所述中间体的前端露出,以使所述自清洁密封进气道的首端与所述中间体的外部相连通;所述自清洁密封进气道的尾端与两个所述密封环之间的所述中孔相连通。本发明能够利用发动机排出的高压废气,实现保证密封性以及具有自清洁能力。

图片来源于网络,如有侵权,请联系删除
今年以来长安汽车新获得专利授权685个,较去年同期减少了42.15%。结合公司2024年年报财务数据,2024年公司在研发方面投入了65.05亿元,同比增8.79%。
数据来源:天眼查APP
以上内容为证券之星据公开信息整理,由AI算法生成(网信算备310104345710301240019号),不构成投资建议。
目录 返回
首页
