金明精机获得实用新型专利授权:“用于薄膜流涎设备的风刀”
证券之星消息,根据天眼查APP数据显示金明精机(300281)新获得一项实用新型专利授权,专利名为“用于薄膜流涎设备的风刀”,专利申请号为CN202421516985.9,授权日为2025年5月23日。

图片来源于网络,如有侵权,请联系删除
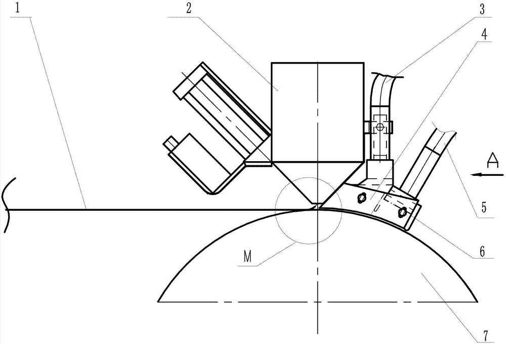
专利摘要:一种用于薄膜流涎设备的风刀,包括风管组件和刀嘴组件;风管组件包括外风管、内风管,外风管套在内风管外面,内风管的两端连接有进风管;刀嘴组件包括左壁板块、右壁板块、上刀板和下刀板,左壁板块、右壁板块、上刀板和下刀板四者围合形成刀嘴腔室,刀嘴腔室的后端通过外透风小孔连通外风管的管腔,刀嘴腔室的前下端设有长条形的出风口;刀嘴组件的左右两侧分别还安装有L形的高压风管;每根L形的高压风管包括高压风管横向段和高压风管垂直段,高压风管横向段垂直于高压风管垂直段;高压风管垂直段的末端开口靠近出风口,高压风管横向段的外端段露出在刀嘴腔室外面。本实用新型能减轻薄膜在流涎辊表面遇冷收缩的程度。

图片来源于网络,如有侵权,请联系删除
今年以来金明精机新获得专利授权8个,较去年同期增加了60%。结合公司2024年年报财务数据,2024年公司在研发方面投入了2318.07万元,同比减4.27%。
数据来源:天眼查APP
以上内容为证券之星据公开信息整理,由AI算法生成(网信算备310104345710301240019号),不构成投资建议。
目录 返回
首页
