新华医疗获得实用新型专利授权:“一种粉液双室袋下袋装置”
证券之星消息,根据天眼查APP数据显示新华医疗(600587)新获得一项实用新型专利授权,专利名为“一种粉液双室袋下袋装置”,专利申请号为CN202420716559.3,授权日为2025年5月9日。

图片来源于网络,如有侵权,请联系删除
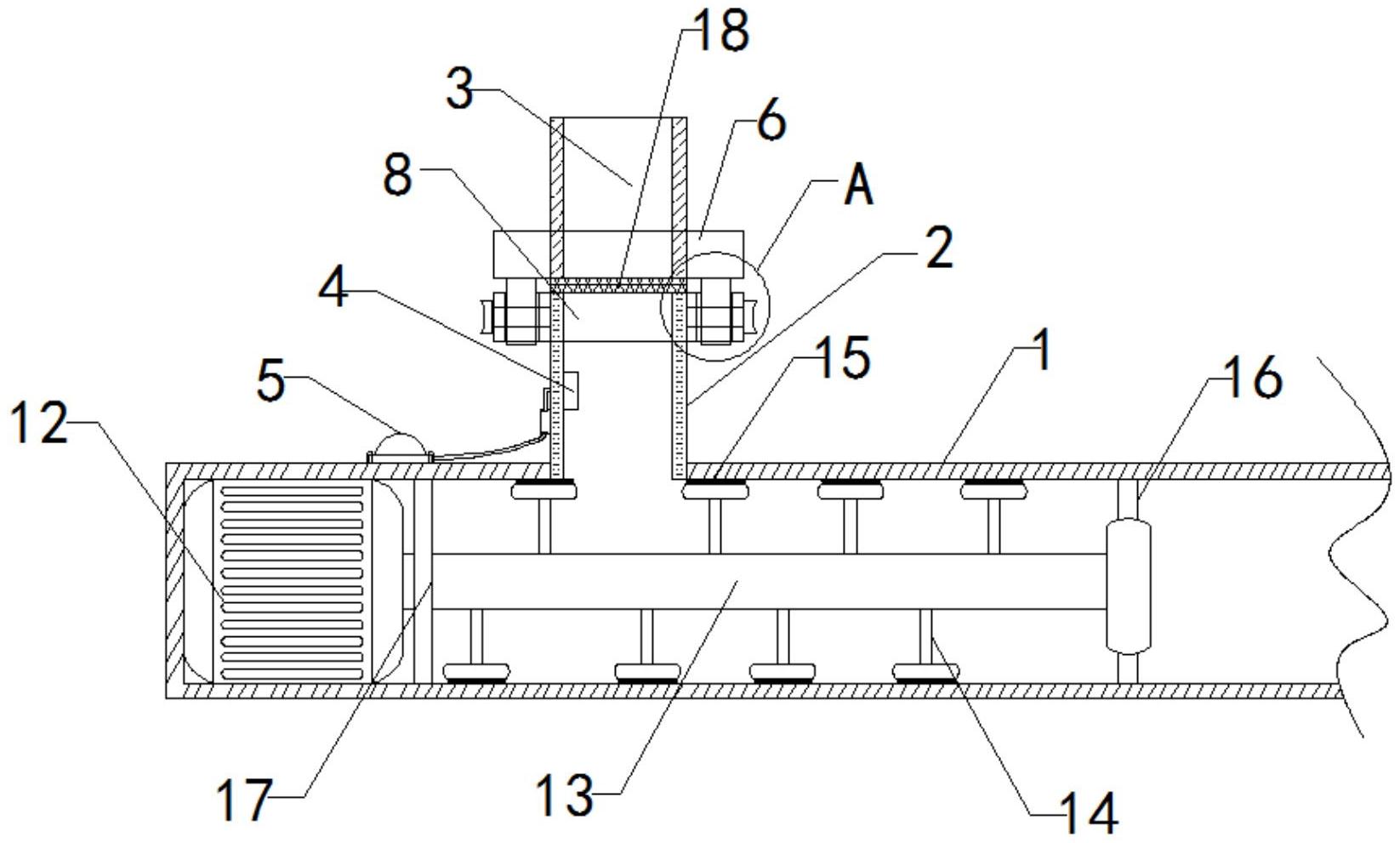
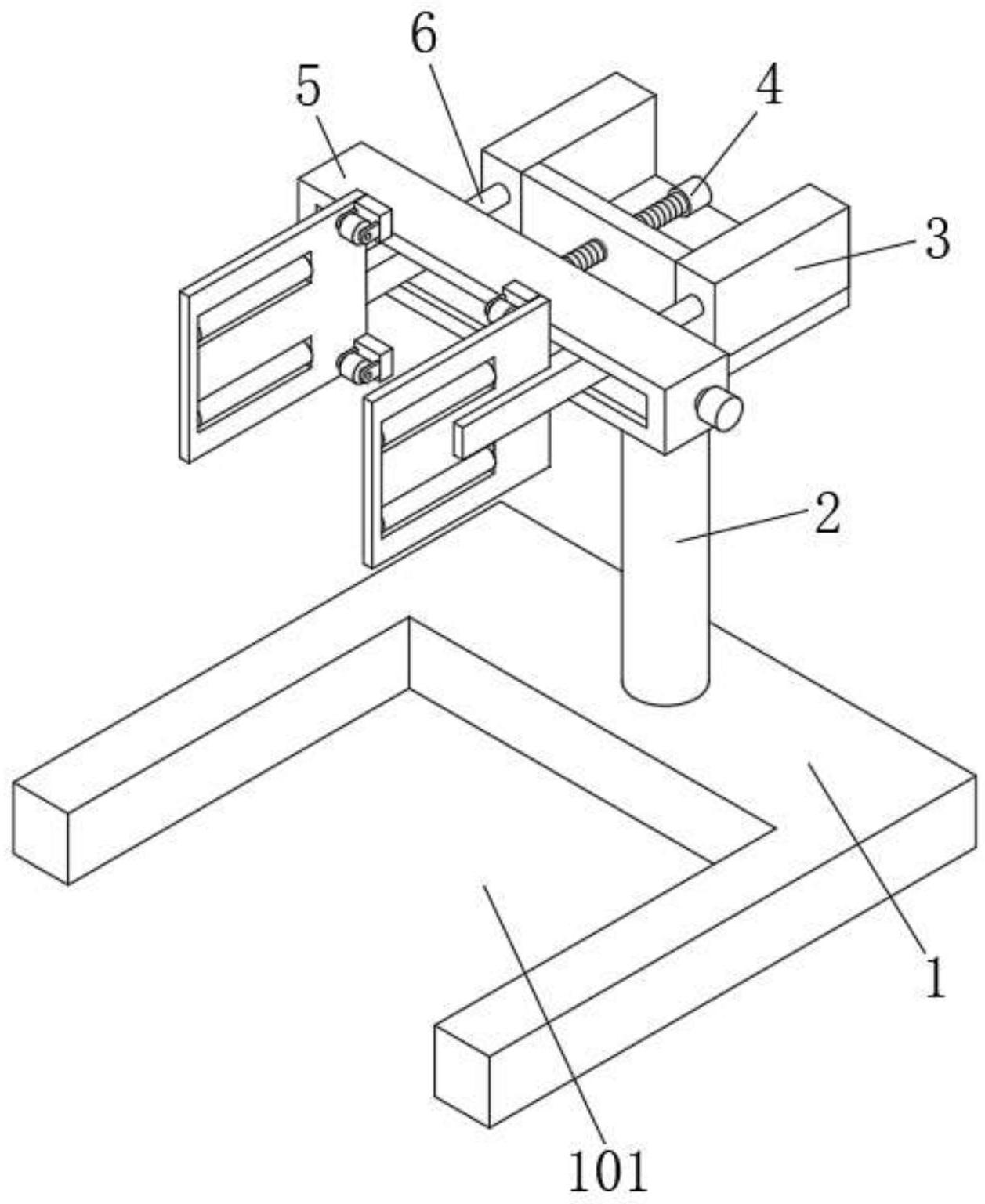
专利摘要:本实用新型公开了一种粉液双室袋下袋装置,包括:环形传送带、立柱组件、取袋组件、顶销组件盒和旋转组件;环形传送带设置在工作平台上,环形传送带上设置有夹具,夹具通过挂袋销装载粉液双室袋;立柱组件,架设在环形传送带的上方;取袋组件用于将粉液双室袋从挂袋销上取下并移动至输送皮带上,取袋组件通过第一气缸沿第一方向可移动地安装在横立柱下侧,第一气缸可沿第二方向伸缩;顶销组件可沿第一方向移动地安装在取袋组件的下端,用于防止取袋过程中损坏夹具;旋转组件,安装在顶销组件的下侧,用于将粉液双室袋进行旋转。如此设置,可以避免取袋过程中装载固定粉液双室袋的夹具损坏以及粉液双室袋容易破损。

图片来源于网络,如有侵权,请联系删除
今年以来新华医疗新获得专利授权104个,较去年同期增加了22.35%。结合公司2024年年报财务数据,2024年公司在研发方面投入了4.36亿元,同比减1.64%。
数据来源:天眼查APP
以上内容为证券之星据公开信息整理,由AI算法生成(网信算备310104345710301240019号),不构成投资建议。
目录 返回
首页
