先导智能获得发明专利授权:“一种供料设备”
证券之星消息,根据天眼查APP数据显示先导智能(300450)新获得一项发明专利授权,专利名为“一种供料设备”,专利申请号为CN202210760686.9,授权日为2025年5月2日。

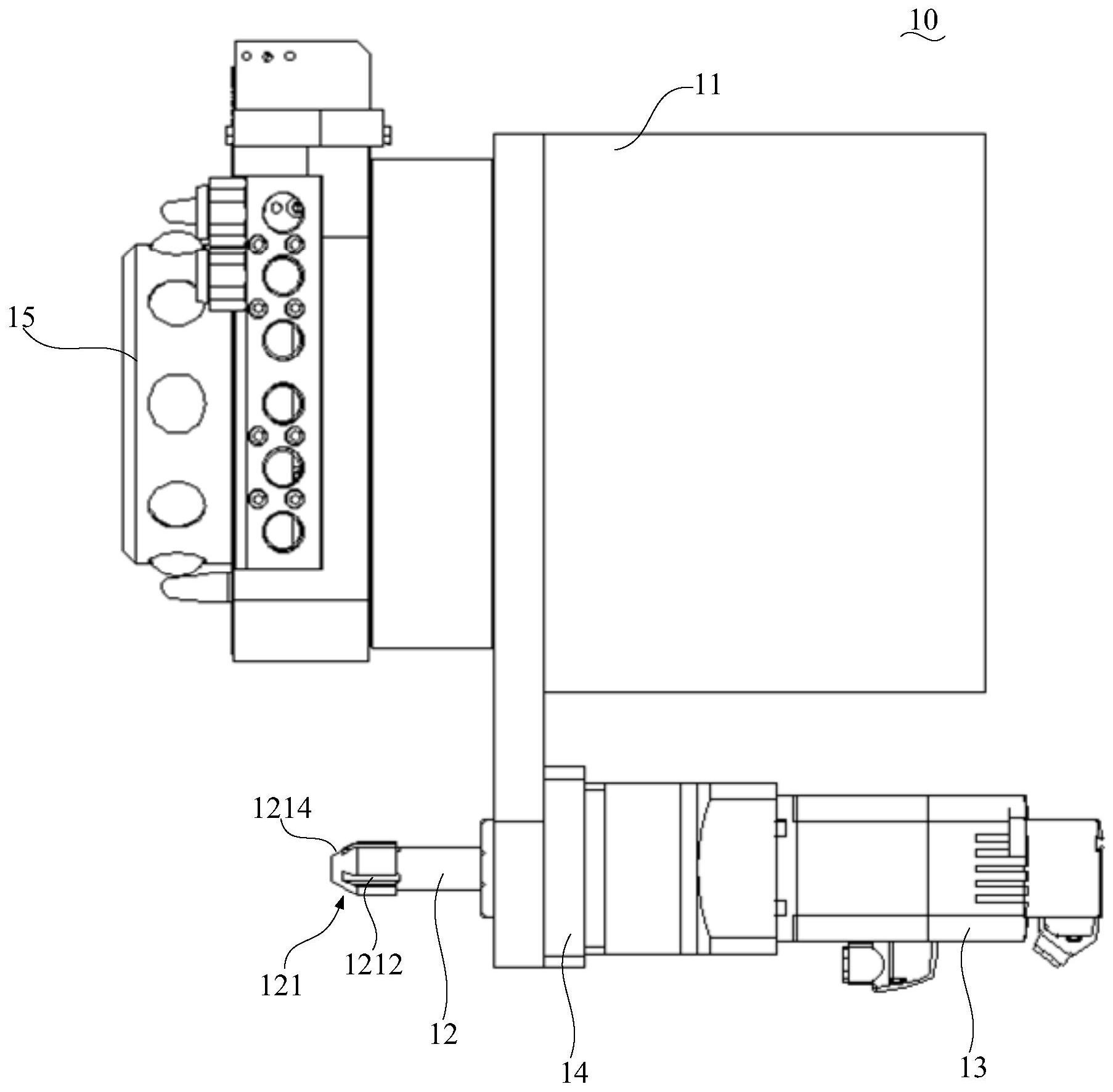
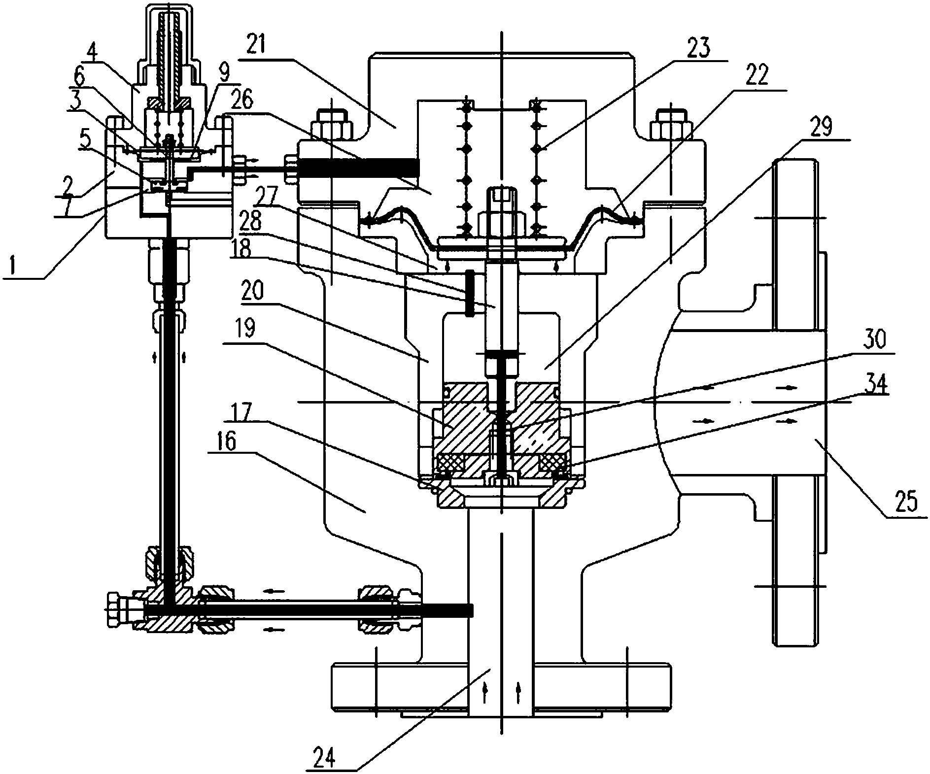
图片来源于网络,如有侵权,请联系删除
专利摘要:本发明涉及一种供料设备。该供料设备包括:转运装置,包括转盘组件、搬运组件和转运组件,转盘组件带动搬运组件在承载工位与调整工位之间移动,并带动转运组件在调整工位与输送工位之间移动;承载装置,对应于承载工位布设,且具有多个用于堆叠元件的承载仓;搬运组件能够在承载工位同时拾取多个承载仓内的元件;调整装置,对应于调整工位布设,所述搬运组件能够在调整工位将拾取的多个元件释放至调整装置上,调整装置用于将承载的多个元件以预设排布方式进行排列,转运组件能够在调整工位拾取调整装置上的多个元件;及输送装置,具有输送通道,转运组件能够在输送工位将多个元件释放至各个载具上。

图片来源于网络,如有侵权,请联系删除
今年以来先导智能新获得专利授权185个,较去年同期增加了125.61%。结合公司2024年年报财务数据,2024年公司在研发方面投入了16.71亿元,同比减0.29%。
数据来源:天眼查APP
以上内容为证券之星据公开信息整理,由AI算法生成(网信算备310104345710301240019号),不构成投资建议。
目录 返回
首页
