通裕重工获得实用新型专利授权:“一种机械式超载限制器及起重装置”
证券之星消息,根据天眼查APP数据显示通裕重工(300185)新获得一项实用新型专利授权,专利名为“一种机械式超载限制器及起重装置”,专利申请号为CN202421078975.1,授权日为2025年4月8日。

图片来源于网络,如有侵权,请联系删除
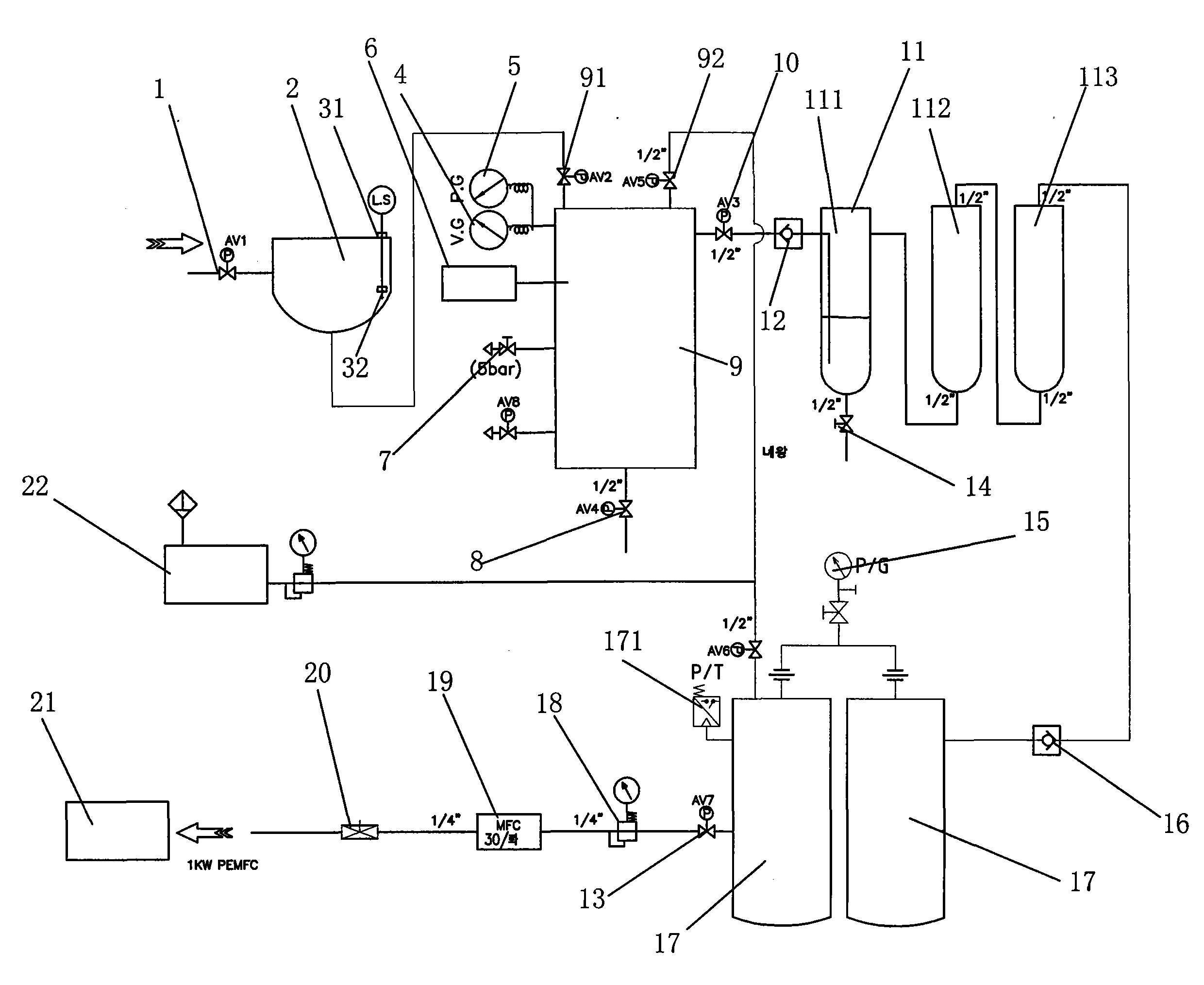
专利摘要:本实用新型涉及一种机械式超载限制器及起重装置,包括支撑板,支撑板上方设置有承载件,承载件的一端为转动连接端,转动连接端与支撑板转动连接,另一端作为下压端,下压端与支撑板之间设有多个弹性机构,支撑板上还设有固定座,固定座与杠杆转动连接,杠杆的一端与设置在承载板下压端底面的压杆相对应,另一端与机械式精密开关相对应,机械式精密开关通过开关支架固定在支撑板上,本实用新型的超载限制器能够在辐射条件下稳定工作。
今年以来通裕重工新获得专利授权14个,较去年同期增加了40%。结合公司2024年中报财务数据,2024上半年公司在研发方面投入了6573.33万元,同比减36.7%。
数据来源:天眼查APP
以上内容为证券之星据公开信息整理,由智能算法生成(网信算备310104345710301240019号),不构成投资建议。
目录 返回
首页
