汇成真空获得实用新型专利授权:“一种同端进出水的细长管内壁镀膜用的磁控溅射靶”
证券之星消息,根据天眼查APP数据显示汇成真空(301392)新获得一项实用新型专利授权,专利名为“一种同端进出水的细长管内壁镀膜用的磁控溅射靶”,专利申请号为CN202421323161.X,授权日为2025年4月8日。

图片来源于网络,如有侵权,请联系删除
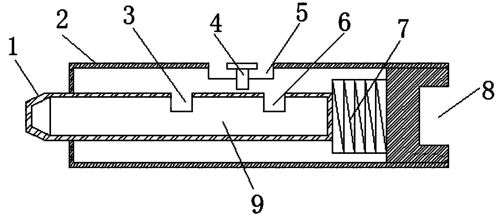
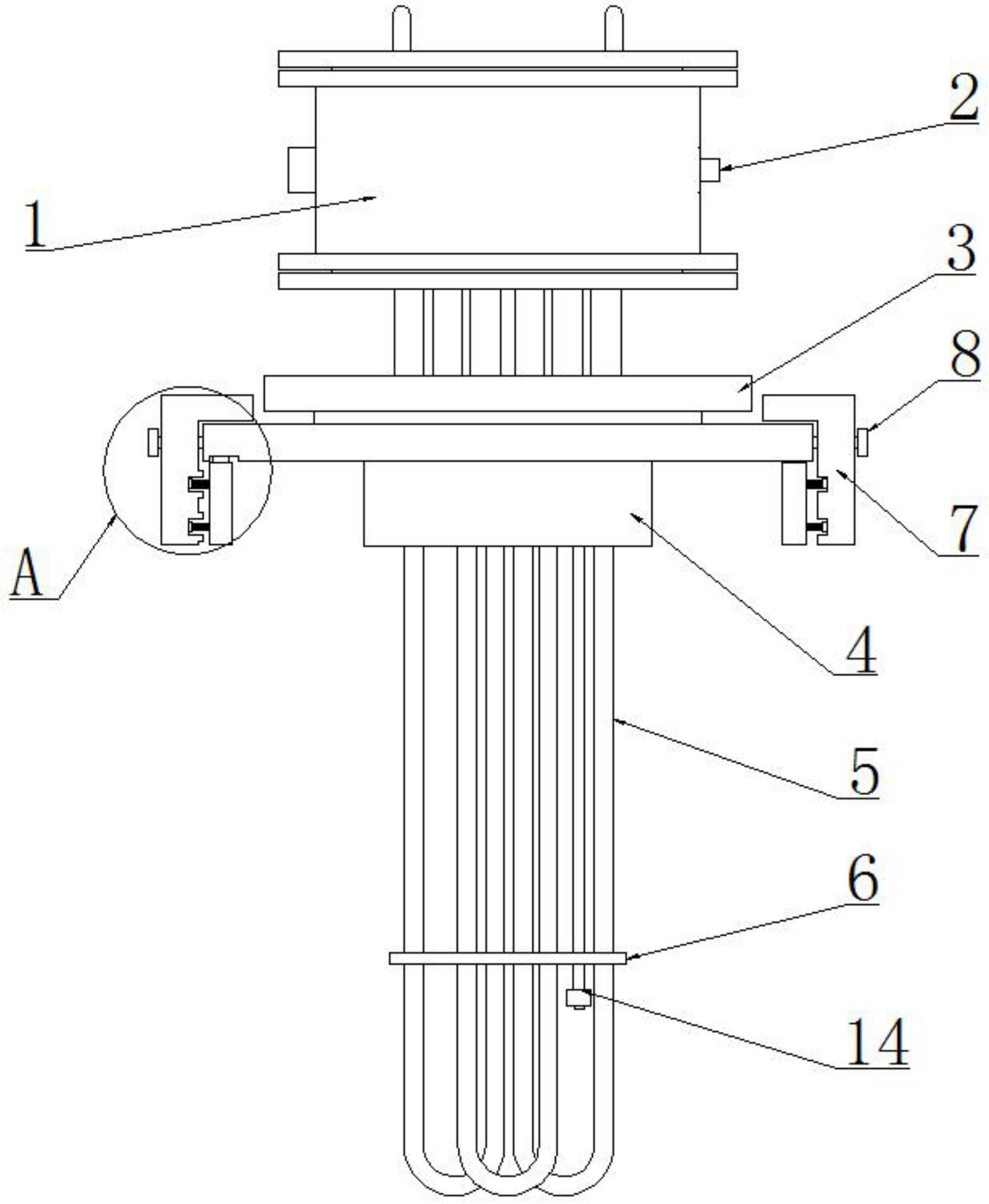
专利摘要:本实用新型公开了一种同端进出水的细长管内壁镀膜用的磁控溅射靶,其包括靶头组件和靶管组件,靶头组件设有进水口、出水口、进气口、传动机构和转轴,在转轴中设有第一进水通道、第一回水通道和进气通道,传动机构连接在转轴上,靶管组件的上端与转轴连接,靶管组件内设有第二进水通道、第二回水通道和至少一段布气道,靶管组件的侧壁上分布有若干出气孔,进气口、进气通道、布气道及出气孔依次相连通,进水口、第一进水通道、第二进水通道、第二回水通道、第一回水通道及出水口依次相连通。本实用新型经靶管组件内部的布气道往细长管内的上中下位置直接布气,同时靶管组件还通过转动使得布气更均匀,从而能够解决细长管内壁均匀镀膜的难题。

图片来源于网络,如有侵权,请联系删除
今年以来汇成真空新获得专利授权26个。结合公司2024年中报财务数据,2024上半年公司在研发方面投入了1958.1万元,同比增2.41%。
数据来源:天眼查APP
以上内容为证券之星据公开信息整理,由智能算法生成(网信算备310104345710301240019号),不构成投资建议。
目录 返回
首页
