机器人获得实用新型专利授权:“一种机器人部件浮动装置”
证券之星消息,根据天眼查APP数据显示机器人(300024)新获得一项实用新型专利授权,专利名为“一种机器人部件浮动装置”,专利申请号为CN202421452817.8,授权日为2025年4月11日。

图片来源于网络,如有侵权,请联系删除
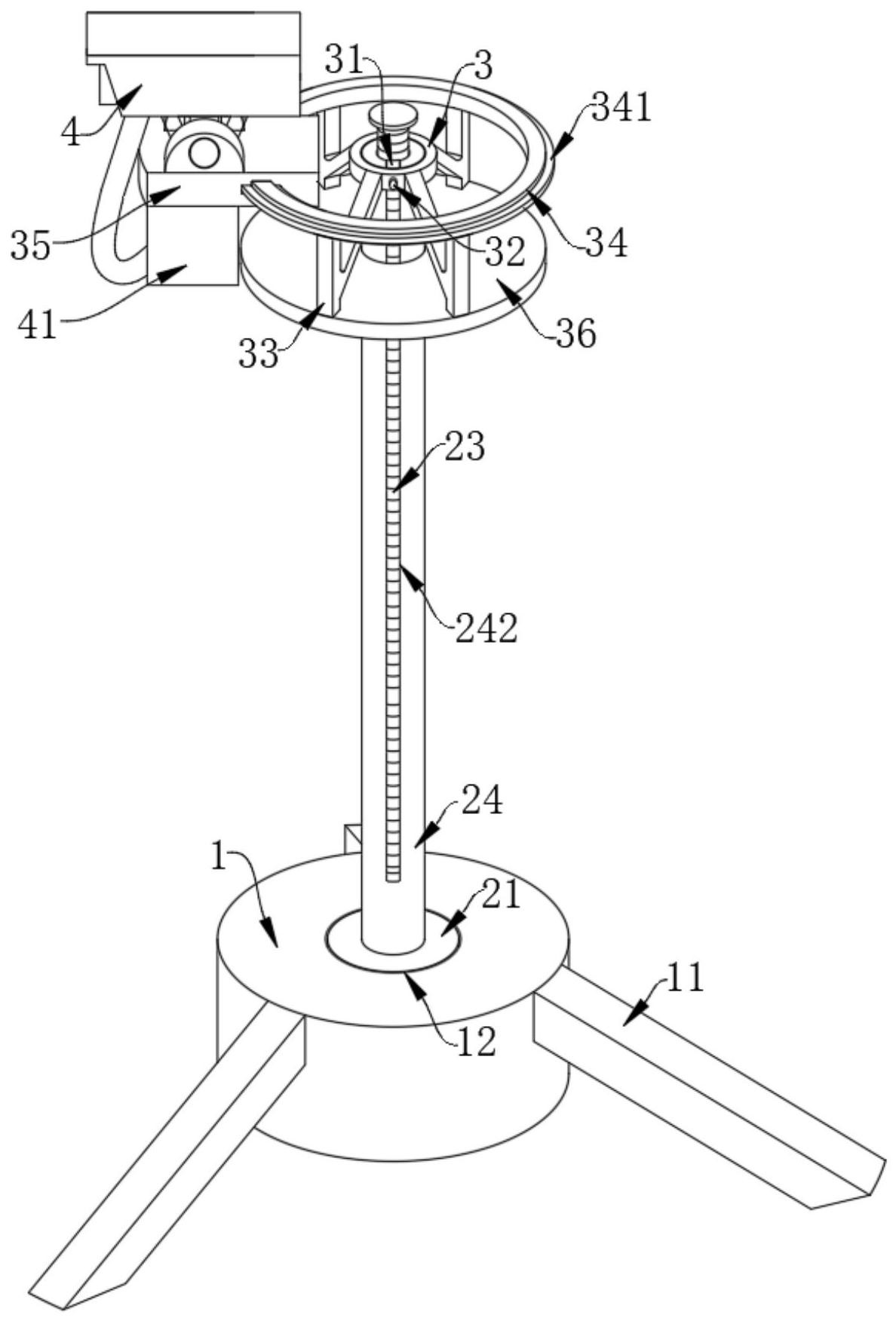
专利摘要:本发明属于六自由度垂直多关节型工业机器人控制模型基础数据标定技术领域,具体涉及一种机器人部件浮动装置。包括变位机、工装及至少一组浮动支撑机构,其中工装通过固定螺钉与变位机的旋转运动输出端连接,工装用于安装机器人,浮动支撑机构设置于安装在工装上的机器人的底部,浮动支撑机构用于对机器人进行浮动支撑。本实用新型的操作过程可视化程度高,能直接看出重力导致的支撑力,有效解决装配及标定过程中工装螺栓易断裂及造成螺纹孔损伤的问题,操作符合人机工程学。

图片来源于网络,如有侵权,请联系删除
今年以来机器人新获得专利授权18个,较去年同期增加了28.57%。结合公司2024年中报财务数据,2024上半年公司在研发方面投入了8275.47万元,同比减7.77%。

图片来源于网络,如有侵权,请联系删除
数据来源:天眼查APP
以上内容为证券之星据公开信息整理,由智能算法生成(网信算备310104345710301240019号),不构成投资建议。
目录 返回
首页
