京东方A获得发明专利授权:“一种后盖、电子装置和后盖的制作方法”
证券之星消息,根据天眼查APP数据显示京东方A(000725)新获得一项发明专利授权,专利名为“一种后盖、电子装置和后盖的制作方法”,专利申请号为CN202211481706.5,授权日为2025年4月11日。

图片来源于网络,如有侵权,请联系删除
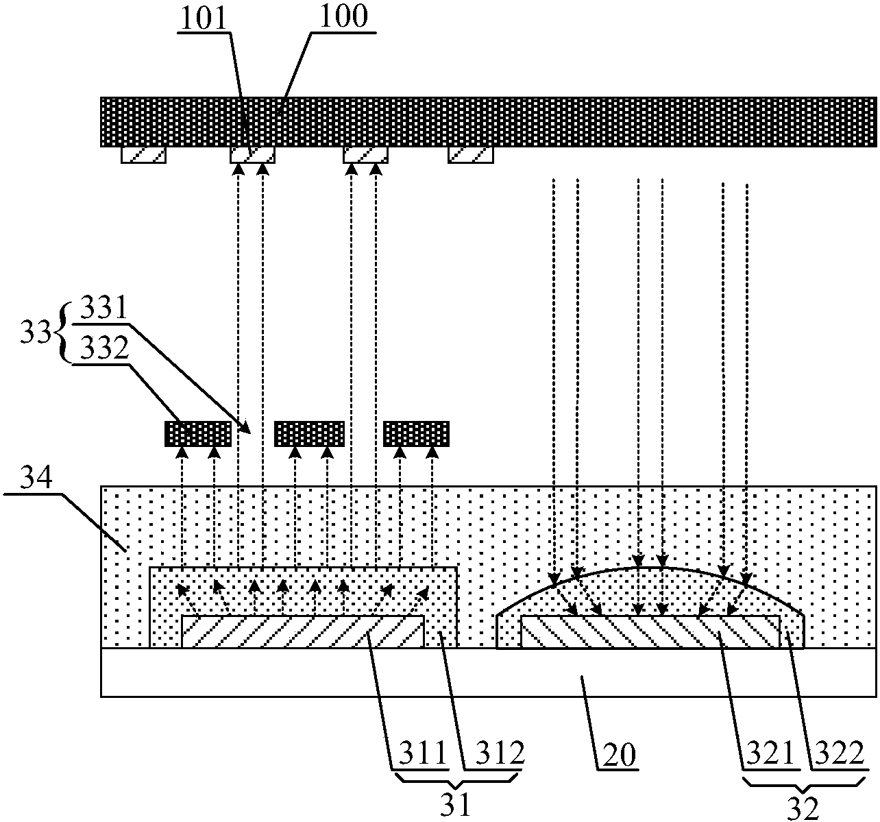
专利摘要:本申请实施例提供了一种后盖、电子装置和后盖的制作方法,后盖具有出光区和非出光区,后盖具有出光侧,后盖包括导光板、发光单元和液晶功能层;导光板用于在发光单元点亮时,将发光单元发射的光线传导至液晶功能层;液晶功能层包括第一基板和嵌入第一基板的图案化结构,图案化结构包括聚合物分散液晶,聚合物分散液晶包括多个第一液晶;第一基板为透光材质;液晶功能层在发光单元未点亮时处于透明状态,在发光单元点亮时将导光板传导过来的光线散射至外部形成发光图案。

图片来源于网络,如有侵权,请联系删除
今年以来京东方A新获得专利授权1343个,较去年同期增加了20.02%。结合公司2024年中报财务数据,2024上半年公司在研发方面投入了58.06亿元,同比增10.24%。

图片来源于网络,如有侵权,请联系删除
数据来源:天眼查APP
以上内容为证券之星据公开信息整理,由智能算法生成(网信算备310104345710301240019号),不构成投资建议。
目录 返回
首页
