亚普股份获得实用新型专利授权:“一种储氢瓶用冷却装置”
证券之星消息,根据天眼查APP数据显示亚普股份(603013)新获得一项实用新型专利授权,专利名为“一种储氢瓶用冷却装置”,专利申请号为CN202421639778.2,授权日为2025年4月11日。

图片来源于网络,如有侵权,请联系删除
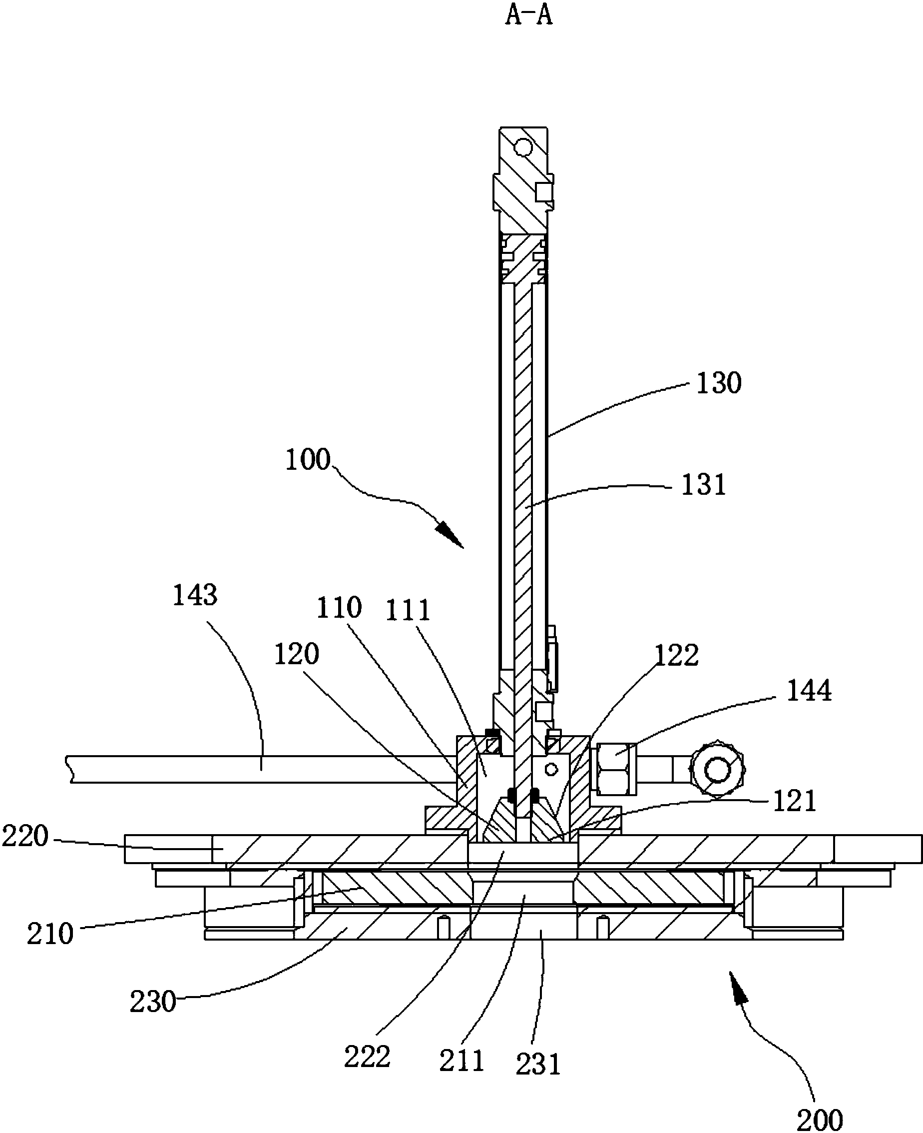
专利摘要:本实用新型属于车载氢系统储氢瓶辅件技术领域,公开了一种储氢瓶用冷却装置,包括安装座和冷却液容纳管,安装座沿轴线开设有通孔,安装座的内部设置有腔室,安装座的一端侧壁设置有转接头,转接头与腔室连通,安装座的另一端侧壁开设有外螺纹,外螺纹与储氢瓶的瓶口的内螺纹螺纹连接;冷却液容纳管的一端与安装座靠近外螺纹的一端连接,且冷却液容纳管与腔室相通,冷却液容纳管远离安装座的一端呈封闭状态,冷却液容纳管伸入储氢瓶的内部。该储氢瓶用冷却装置解决了车载氢系统在加气过程中易升温从而导致储氢瓶内部压力偏高导致的气体加注少于标准值的问题,也在一定程度上提高氢气储存量,故可在一定程度上提高车辆续航里程。

图片来源于网络,如有侵权,请联系删除
今年以来亚普股份新获得专利授权9个,较去年同期减少了10%。结合公司2024年年报财务数据,2024年公司在研发方面投入了3.16亿元,同比减3.49%。
数据来源:天眼查APP
以上内容为证券之星据公开信息整理,由智能算法生成(网信算备310104345710301240019号),不构成投资建议。
目录 返回
首页
